Приказ Министерства природных ресурсов и экологии РФ от 7 февраля 2020 г. № 59 «Об утверждении образцов специальных информационных знаков для обозначения границ водоохранных зон и границ прибрежных защитных полос водных объектов»
Актуален на 24.10.2025 г. С изменениями и дополнениями. Редакция от 24 марта 2020 г.
В соответствии с пунктом 8 Правил установления границ водоохранных зон и границ прибрежных защитных полос водных объектов, утвержденных постановлением Правительства Российской Федерации от 10 января 2009 г. N 17 (Собрание законодательства Российской Федерации, 2009, N 3, ст. 415; 2019, N 49, ст. 7125), приказываю:
1. Утвердить:
1.1. Образец специального информационного знака для обозначения границ водоохранных зон водных объектов согласно приложению N 1 к настоящему приказу.
1.2. Образец специального информационного знака для обозначения границ прибрежных защитных полос водных объектов согласно приложению N 2 к настоящему приказу.
2. Признать утратившим силу приказ Минприроды России от 13 августа 2009 г. N 249 «Об утверждении образцов специальных информационных знаков для обозначения границ водоохранных зон и границ прибрежных защитных полос водных объектов» (зарегистрирован Минюстом России 13 октября 2009 г., регистрационный N 15001).
Министр
Д.Н. Кобылкин
Зарегистрировано в Минюсте РФ 13 марта 2020 г.
Регистрационный N 57729
Приложение 1
Образец специального информационного знака для обозначения границ водоохранных зон водных объектов

Примечание:
Специальный информационный знак "Водоохранная зона" (далее - знак) для обозначения границ водоохранных зон водных объектов состоит из двух элементов: информационного щита и стойки-основания.
Для изготовления основы информационного щита может использоваться жесткий листовой морозостойкий негорючий пластик (ПВХ), толщиной 4 мм.
Цвет: фон информационного щита - голубой, стойки-основания - белый.
Информационная надпись "ВНИМАНИЕ! ВОДООХРАННАЯ ЗОНА" выравнивается по центру в три строки печатными буквами белого цвета.
Текст, нанесенный на знак, должен быть виден в светлое время суток с расстояния 50 метров.
Приложение 2
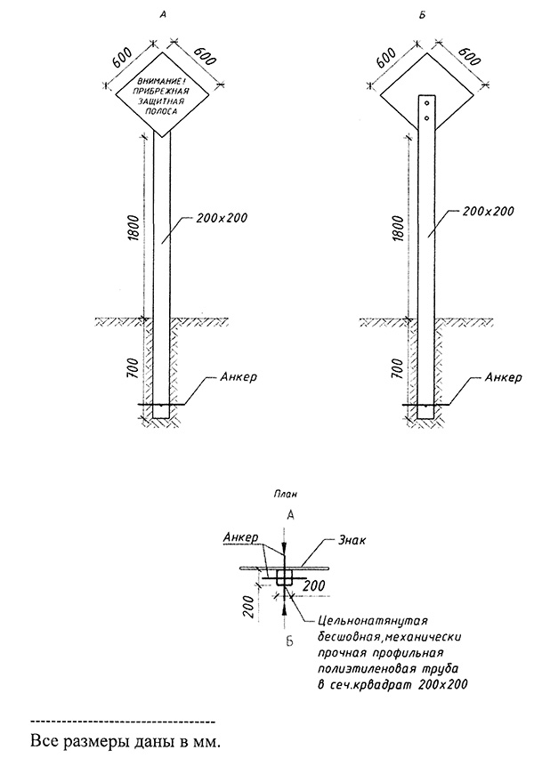
Образец специального информационного знака для обозначения границ прибрежных защитных полос водных объектов

Примечание:
Специальный информационный знак "Прибрежная защитная полоса" (далее - знак) для обозначения границ прибрежных защитных полос водных объектов состоит из двух элементов: информационного щита и стойки-основания.
Для изготовления основы информационного щита может использоваться жесткий листовой морозостойкий негорючий пластик (ПВХ), толщиной 4 мм.
Цвет: фон информационного щита - голубой, стойки-основания - белый.
Информационная надпись "ВНИМАНИЕ! ПРИБРЕЖНАЯ ЗАЩИТНАЯ ПОЛОСА" выравнивается по центру в три строки печатными буквами белого цвета.
Текст, нанесенный на знак, должен быть виден в светлое время суток с расстояния 50 метров.